91看片神器免费,91看片在线观看视频,成人91看片APP,91看片在线观看免费

熱門頁麵: 91看片在线观看视频價格 大型91看片在线观看视频球 磨機工作原理 91看片在线观看视频襯板 濕式91看片在线观看视频 礦石91看片在线观看视频球 磨機型號 節能91看片在线观看视频 溢流91看片在线观看视频
  • 24小時91看片在线观看免费熱線24小時91看片在线观看免费熱線 15311826765
  • 添加微信添加微信 13811510145
  • 公司地址公司地址

    山東省煙台市福山高新技術產業區91看片神器免费街188號

首頁 > 產品中心 > 篩分機 > 自定中心振動篩

自定中心振動篩

自定中心振動篩

產品簡介:一款傳統的、應用廣泛的振動篩,多用於中細粒篩分。

處理能力:20~300t/h

產品改進:采用91看片神器免费耐磨橡膠製作彈性限位件;

優勢特點:

 自定中心振動篩

振幅大,篩分效率高。

采用91看片神器免费耐磨橡膠篩網,壽命是鋼製的3-10倍,是聚氨脂的2倍。

壽命長、噪音小、維修方便。

可提供座式和吊式兩種形式的振動篩。

 自定中心振動篩

自定中心振動篩由帶有偏心性質的振動器使篩子產生振動。

該振動篩特點如下:

篩上物料在振動作用下能達到很好的鬆散和分層;

該振動篩的配重質量大小可以調節,可根據生產要求調節篩子振幅大小;

當給礦量發生變化時,振幅也變化。給礦量少時振幅加大振動加劇,給礦量多時振幅變小。給礦量的變化將影響“動力平衡”,從而使皮帶輪中心產生一些振動;

適用於中、細粒篩分而不適應粗物料篩分。

24小時91看片在线观看免费熱線 15311826765

如果您有任何的問題,請通過以下方式聯係91看片神器免费,91看片神器免费將給您更多更好的協助!

產品簡介

 自定中心振動篩

自定中心振動篩的使用範圍:主要適用於礦山、煤炭、冶金、建材、化工等部門對中細粒度物料進行分級之用。

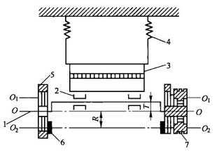
產品結構

 自定中心振動篩
  • 主軸
  • 軸承
  • 篩框
  • 彈簧懸掛裝置
  • 偏重輪
  • 偏心軸
  • 皮帶輪

產品FAQ

1、自定中心振動篩檢查與維護?

日常維護:

(1)應每天檢查電機軸承溫度是否超溫。

(2)檢查篩網、壓板、篩篦磨損情況。

(3)檢查吊杆、彈簧受力狀況是否均勻。

定期檢查:

(1)定期檢查軸承潤滑情況。

(2)定期檢查彈簧吊杆、磨損情況。

(3)檢查篩網磨損狀況。

(4)檢查各螺栓聯結處是否鬆動。

(5)檢查振幅、篩分率是否符合要求。

(6)檢查振動噪音、篩麵傾角是否有變化。

2、物料的物理性質對自定中心振動篩的影響有哪些?

篩分過程的技術經濟指標是篩分效率和生產率,前者為質量指標,後者為數量指標。它們之間有一定的關係,同時還與其他許多因素有關,這些因素決定篩分的結果。

被篩分物料的物理性質對篩分過程會產生較大的影響:包括物料本身的粒度組成、濕度、含泥量和粒子的形狀等。當物料細粒含量較大時,篩子的生產率也大。當物料的濕度較大時,一般來說篩分效率都會降低。但篩孔尺寸愈大,水分影響愈小,所以對於含水分較大的濕物料,為了改善篩分過程,一般可以采用加大篩孔的辦法,或者采用濕式篩分。物料含泥量大(當含泥量大於8%時)應當采用濕式篩分,或預先洗礦。

3、自定中心振動篩的維修及注意事項?

(1)對振動篩進行定期檢查時所發現的問題,應進行修理。振動篩修理內容包括及時調整三角帶拉力、更換新帶、更換磨損的篩麵以及縱向墊條、更換減振彈簧、更換滾動軸承、傳動齒輪和密封、更換損壞的螺栓、修理篩框構件的破損等。

(2)篩框側板及梁應避免發生應力集中,振動篩因此不允許在這些構件上施以焊接。振動篩對於下橫梁開裂應及時更換,側板發現裂紋損傷時,應在裂紋盡頭及時鑽5mm孔,然後在開裂部位加補強板。激振器的拆卸、修理和裝配應由專職人員在潔淨場所進行。

(3)振動篩拆卸後檢查滾動軸承磨損情況,檢查齒輪齒麵,檢查各部件聯接情況,清洗振動篩箱體中的潤滑回路使之暢通,清除各結合麵上的附著物,更換全部密封件及其他損壞零件。

振動篩維修時應特別注意:

(1)激振器及傳動裝置拆卸應由有經驗的技術工人進行,振動篩嚴禁野蠻操作,振動篩防止損壞設備。振動篩裝配前應保持零件潔淨。

(2)振動篩更換後的新篩網應每隔4-8h重新張緊一次,振動篩直到完全張緊為止。

技術參數

型號 規格 最大給料粒度(mm) 處理能力 (t/h) 電機 型號 電機功率 (kw) 重量 (kg) 備 注
SZZ0918 900×1800 40 20~25 Y100L1-4 2.2 420 吊式
SZZ0918 900×1800 40 20~25 Y100L1-4 2.2 553 座式
2SZZ0918 900×1800 40 20~25 Y100L1-4 2.2 570 座式
SZZ1225 1250×2500 100 100 Y132S-4 5.5 1020 吊式
SZZ1225 1250×2500 100 100 Y132S-4 5.5 1330 座式
2SZZ1225 1250×2500 100 100 Y132S-4 5.5 1320 吊式
2SZZ1225 1250×2500 100 100 Y132S-4 5.5 1335 座式
SZZ1530 1500×3000 100 200 Y132M-4 7.5 1650 吊式
SZZ1530 1500×3000 100 200 Y132M-4 7.5 1700 座式
2SZZ1530 1500×3000 100 200 Y132M-4 7.5 2870 吊式
2SZZ1540 1500×4000 100 250 Y160L-4 15 4240 座式
SZZ1836 1800×3600 150 300 Y180M-4 18.5 4500 吊式
2SZZ1836 1800×3600 150 300 Y180M-4 18.5 5616 座式

相關信息



在線留言

您可以在下麵表格填寫您的需求信息,91看片神器免费的技術與銷售人員會盡快與您取得聯係。為保證能及時處理您的信息,請務必準確填寫您的聯係電話!

  • 請您填寫詳細的需求信息:

  • 如果以上信息無法滿足您的需求,請在此填寫您的具體需要。

版權所有 ©山東91看片神器免费礦業集團 2011-2018 魯ICP備93653093號-115 公安網備案魯公網安備 37061102001222號
網站地圖