91看片神器免费,91看片在线观看视频,成人91看片APP,91看片在线观看免费

熱門頁麵: 91看片在线观看视频價格 大型91看片在线观看视频球 磨機工作原理 91看片在线观看视频襯板 濕式91看片在线观看视频 礦石91看片在线观看视频球 磨機型號 節能91看片在线观看视频 溢流91看片在线观看视频
  • 24小時91看片在线观看免费熱線24小時91看片在线观看免费熱線 15311826765
  • 添加微信添加微信 13811510145
  • 公司地址公司地址

    山東省煙台市福山高新技術產業區91看片神器免费街188號

首頁 > 產品中心 > 破碎機 > 液壓圓錐破碎機

液壓圓錐破碎機

液壓圓錐破碎機

產品簡介:一款中細碎破碎機,采用液壓係統調整排礦口,並用於過載保護。

處理能力:5~750t/h

產品改進:主軸上下兩端均有支撐,破碎腔形狀設計更加科學,液壓與潤滑係統雙保險控製。

優勢特點:

這款液壓圓錐破碎機主軸上下兩端均有支撐,能承受更大的破碎力和更大的衝程,破碎效率得到提升,加上破碎腔形狀的科學設計,處理能力比老式彈簧圓錐破高35%~60%。

破碎腔形的優化設計以及層壓破碎原理使成品中立方體所占的比例明顯增高,針片狀石子減少,粒級更為均勻。

液壓與潤滑係統雙保險控製,使液壓圓錐破碎機在過載時得到保護,並具有良好的軸承潤滑。

24小時91看片在线观看免费熱線 15311826765

如果您有任何的問題,請通過以下方式聯係91看片神器免费,91看片神器免费將給您更多更好的協助!

產品簡介

液壓圓錐破碎機適用於破碎堅硬與中硬礦石及岩石,廣泛應用於礦業、建築業、冶金、化學及磷酸鹽工業。

工作原理

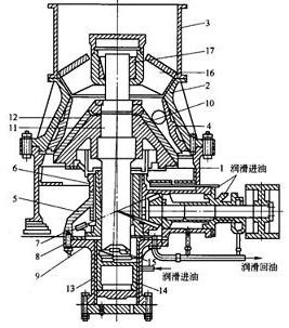
液壓圓錐破碎機結構圖

液壓圓錐破碎機的電機通過三角帶、傳動軸、傳動齒輪帶動偏心套旋轉,動錐在偏心套作用下做旋擺運動,使動錐和定錐時而靠近時而偏離,從而對物料不斷擠壓或衝擊而使其破碎,破碎的物料從下部排礦口排出。

產品FAQ

進動角對圓錐破碎機的影響有哪些?

在破碎腔型結構參數確定的前提下,進動角決定破碎機偏心距及排料口擺動形成大小。進動角越大,物料在破碎腔中收到更大衝擊,粉碎效果改善,同時對物料運動學性能有利,破碎機生產率提高,但破碎機整機動力性能惡化。進動角越小,物料粉碎效果變差,生產率下降,但機器動力性能改善。故在破碎機整機性能允許的前提下,進動角亦取最大值。

技術參數

型 號 破碎頭底部直徑(mm) 最大進料料度(mm) 出料調整範圍(mm) 破碎產量(t/h) 電機功率(KW) 偏心軸轉速(r/min) 重量(t) 外形尺寸(mm)
PYB600 600 75 12-25 40 30 356 5 2234×1370×1675
PYZ600 600 35 3-13 5-23 30 356 5.3 2234×1370×1675
PYB900 900 115 15-50 50-90 55 333 11.2 2692×1640×2350
PYZ900 900 60 5-20 20-65 55 333 11.2 2692×1640×2350
PYD900 900 50 3-13 15-50 55 333 11.3 2692×1640×2350
PYB1200 1200 145 20-50 110-168 110 300 24.7 2790×1878×2844
PYZ1200 1200 100 8-25 42-135 110 300 25 2790×1878×2844
PYD1200 1200 50 3-15 18-105 110 300 25.3 2790×1878×2844
PYB1750 1750 215 25-50 280-480 160 245 50.3 3910×2894×3809
PYZ1750 1750 185 10-30 115-320 160 245 50.3 3910×2894×3809
PYD1750 1750 85 5-13 75-230 160 245 50.2 3910×2894×3809
PYB2200 2200 300 30-60 490-750 260-280 220 80 4622×3302×4470
PYZ2200 2200 230 10-30 200-580 260-280 220 80 4622×3302×4470
PYD2200 2200 100 5-15 120-340 260-280 220 81.4 4622×3302×4470

相關信息



在線留言

您可以在下麵表格填寫您的需求信息,91看片神器免费的技術與銷售人員會盡快與您取得聯係。為保證能及時處理您的信息,請務必準確填寫您的聯係電話!

  • 請您填寫詳細的需求信息:

  • 如果以上信息無法滿足您的需求,請在此填寫您的具體需要。

版權所有 ©山東91看片神器免费礦業集團 2011-2018 魯ICP備93653093號-115 公安網備案魯公網安備 37061102001222號
網站地圖